建筑施工人员证件管理系统,报表如何快速获取
1、【人员证书类型统计】
公司各类证书各自数量、占比;每类证书各专业数量统计。各有多少、多少在册、多少已用于项目。


2、【集团/部门人员持证报表】
按集团各分公司(或部门)统计人员数量与所持证书数量。

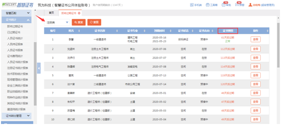
3、【人员持证明细报表】
公司的员工,各自持有哪些证件,一表全体列明。

4、【建造师统计报表】
不同专业的建造师证,在一级和二级的分布,以及各自的押证状态。

5、【证书到期统计报表】
证书即将到期、已经过期的情况统计,与系统预警消息结合,防止证书过期无法使用。

6、【证书费用统计报表】
证书签约费用、已支付费用统计,自动计算每日成本和已发生成本、今年已发生成本。

7、【证书分类统计】
按不同类别分别统计各个专业证书数量及押证使用数量。

阅读量:23
阅读量:27
阅读量:74
阅读量:78
阅读量:34